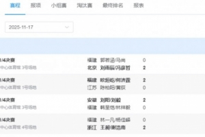
体育资讯11月17日讯 全运会羽毛球男双四分之一决赛全部结束,刘雨辰/冯彦哲、刘阳/刘毅、欧烜屹/何济霆、王昶/谢浩南四队选手挺进四强。
男双半决赛对阵情况如下:
刘雨辰/冯彦哲 VS 刘阳/刘毅
欧烜屹/何济霆 VS 王昶/谢浩南
男双四分之一决赛比分详情:
刘雨辰/冯彦哲2-0郭若涵/马尚
欧烜屹/何济霆2-0陈柏阳/黄荻
刘阳/刘毅2-0刘阳/刘毅
王昶/谢浩南2-0林一凡/杨佳峄
上一篇: 全运会羽毛球女双半决赛:贾一凡/张驰vs黄东萍/谭宁
下一篇: 全运会羽毛球女单1/4决赛:陈雨菲险胜张艺曼 晋级四强
毕尔巴鄂竞技vs瓦伦西亚免费看
比利亚雷亚尔vs埃尔切
皇家马德里现场直播在线观看
国足十二强赛赛程
nba勇士vs小鹿
体育直播免费观看咪咕
nba常规
巴斯蒂亚vs特鲁瓦直播